

中国质量新闻网讯 2022年5月30日,福建省市场监督管理局网站发布《福建省市场监督管理局工业产品-鞋类质量省级监督抽查结果公告(2022年第94期)》。
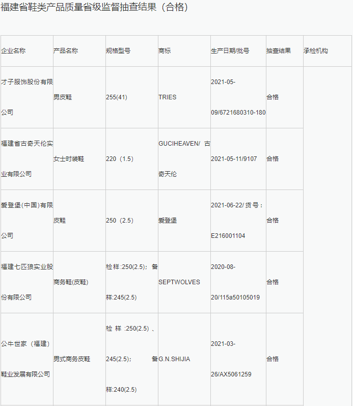
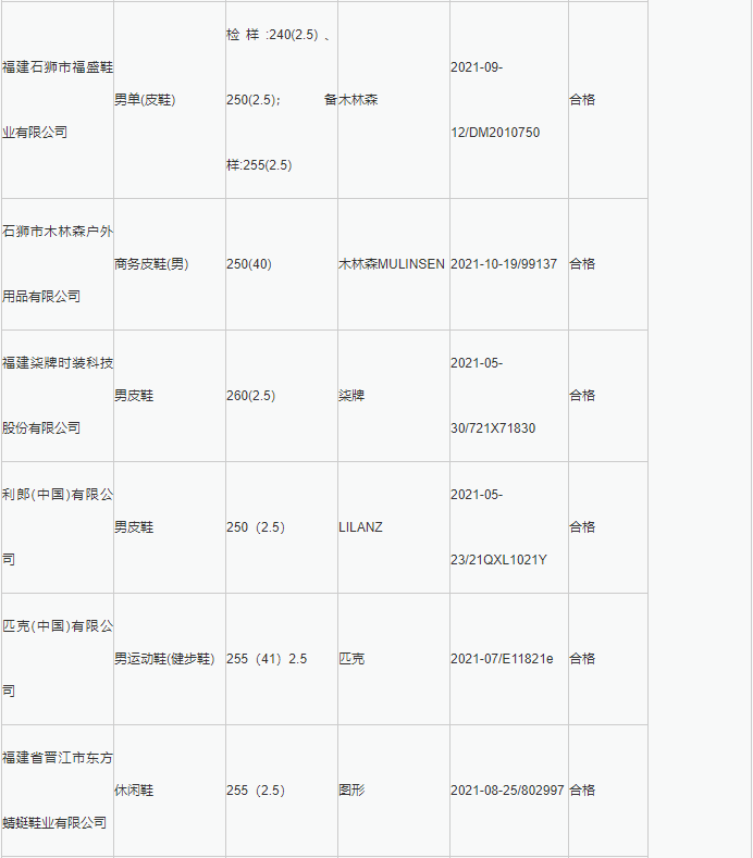
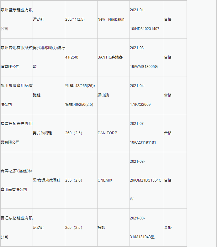
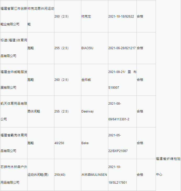
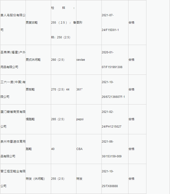
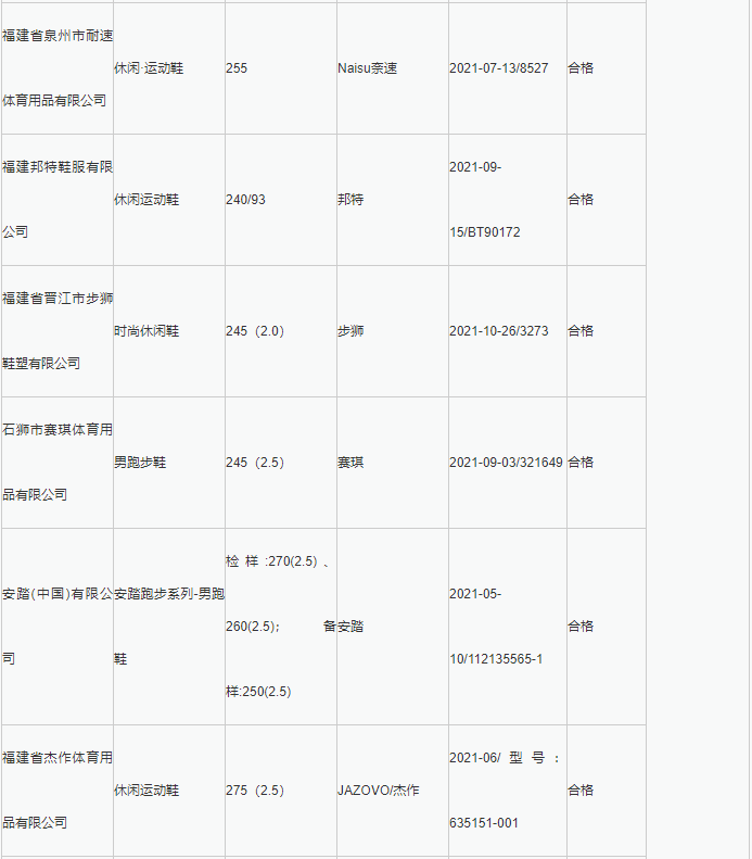
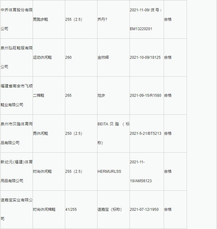
公告称,近期,依据《中华人民共和国产品质量法》和相关产品标准及抽查细则明确项目,福建省市场监督管理局组织对生产企业鞋类产品质量开展省级监督抽查。本次共抽查49批次,其中5批次不合格,不合格发现率为10.2%。
福建省市场监督管理局已责成市市场监管局对本次抽查不合格产品及其生产企业依法予以处理。
福建省鞋类产品质量省级监督抽查结果(不合格)









来源:中国质量新闻网
免责声明:文章内容如涉及作品内容、版权和其它问题,请在30日内与本网站联系,我们将在第一时间删除内容。文章只提供参考并不构成任何投资及应用建议。